ဆင္ဆာမပါပဲ မ်က္ႏွာျပင္ကေန တုိက္ရုိက္ဖတ္မယ့္ Fingerprint စနစ္ကုိ Apple တီထြင္
20 Feb 2017 1,527 Views

Apple အေနနဲ႔ သူတုိ႔ရဲ႕ မူပုိ္င္ခြင့္တစ္ခုအတိုင္း ေနာက္ထြက္မယ့္ iPhone ကုိ ထုတ္လုပ္မယ္ဆိုရင္ ဖုန္းသစ္မွာ Fingerprint ကုိ ဖတ္ဖုိ႔အတြက္ ႏွစ္ျမဳတ္ထားတဲ့ ဆင္ဆာတစ္ခုပါဝင္လာဖြယ္ရွိေနပါတယ္။ Apple တင္ခဲ့တဲ့ မူပုိင္ခြင့္အသစ္ကုိ ဒီေန႔မွာပဲ အေမရိကန္မူပိုင္ခြင့္နဲ႔ အမွတ္သေကၤတရုံးကေန
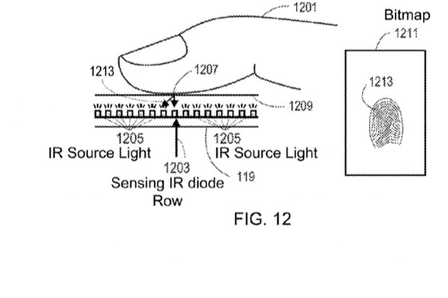
“interactive display with IR diodes” လုိ႔ အေသးစိတ္အခ်က္အလက္ေတြနဲ႔ ထုတ္ျပန္ခဲ့တာပါ။ ဒါဟာဆုိရင္ Apple ရဲ႕ ပစၥည္းေတြကုိ မ်က္ႏွာျပင္ကေနတစ္ဆင့္ Fingerprint ကုိ တိုက္ရိုက္ဖတ္ႏုိင္ဖုိ႔အတြက္ ခြင့္ျပဳေပးဖုိ႔ ရွိေနတာလည္း ျဖစ္တဲ့အျပင္ Home Button ေနရာမွာ ႏွစ္ျမဳတ္ Fingerprint Reader ကုိ ထည့္သြင္းႏုိင္ဖုိ႔လည္း ရွိေနတာပါ။
Apple ကေတာ့ ေနာက္ထြက္မယ့္ iPhone မွာ ဒီနည္းပညာနဲ႔ လုပ္ေဆာင္ခ်က္ပါဝင္ဖုိ႔ကုိေတာ့ မေျပာရေသးပါဘူး Apple Indider ရဲ႕ ထုတ္ေဖာ္ခ်က္တစ္ခုအရ ဒီမူပိုင္ခြင့္အသစ္ဟာ အလင္းကုိ ကာကြယ္ၿပီး မ်က္ႏွာျပင္အတြင္းကေန Fingerprint ကုိလွမ္းဖတ္တာမယ့္ နည္းပညာကုိ ယူေဆာင္လာမွာ ျဖစ္ေၾကာင္း သိရပါတယ္။ ဒီနည္းပညာကေတာ့ အနီေအာက္ေရာင္ျခည္ပါဝင္တဲ့ LED ေတြဟာ RGB LED ေတြရဲ႕ ေဘးနားမွာ ထည့္သြင္းၿပီး မ်က္ႏွာျပင္ကေန Fingerprint ကုိဖတ္ဖို႔ ေထာက္ပံ့ေပးႏုိင္မွာပါ။
ဒီ IR LED (အနီေအာက္ေရာင္ျခည္ LED) ေတြဟာ အေရးႀကီးတဲ့ ရည္ရြယ္ခ်က္တစ္ခုနဲ႔ ပါဝင္လာတာျဖစ္ၿပီး RGB LED ေတြနဲ႔ ေပါင္းစပ္ထားမွာပါ။ သူတုိ႔ဟာ Subpixel မ်က္ႏွာျပင္ကို ဖန္တီးေပးမွာ ျဖစ္လုိ႔ တျခားမ်ားျပားတဲ့ လုပ္ေဆာင္ခ်က္ေတြကုိလည္း လုပ္ေဆာင္ေစႏုိင္မွာပါ။ Apple က ဒီ Subpixel တပ္ဆင္မႈကုိ “Interactive Pixel” လုိ႔ ေခၚထားတာပါ။ ဒါေပမယ့္ Apple ဟာ မ်က္ႏွာျပင္မွာ ပုိမိုႀကီးမားတဲ့ ေနရာလြတ္ေတြ ဖန္တီးႏုိင္ဖုိ႔ iPhone ေတြရဲ႕ မ်က္ႏွာျပင္မွာ ပါဝင္တဲ့ အလင္းဆင္ဆာ တစ္ခုကုိ ျဖဳတ္သြားဖုိ႔ လုိအပ္ေၾကာင္းလည္း သိရပါတယ္။
Credit : akhayar









